Product Summary
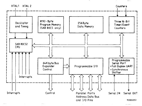
The SAB 80C32 is a standalone, high-performance 8-bit CMOS microcontroller, designed in Siemens ACMOS technology. The SAB 80C32 is identical, expect that lacks the program memory on the chip.
Parametrics
SAB 80C32 absolute maximum ratings: (1)Ambient temperature under bias: 0 to 70℃; (2)Storage temperature: -65 to 150℃; (3)Voltage on any pin with respect to groud(VSS): -0.5 to VCC 0.5V; (4)Voltage on VCC to VSS: -0.5 to 6.5V; (5)Power dissipation: 1W.
Features
SAB 80C32 features: (1)Versions for 12MHz/16MHz/20MHz operating frequency; (2)256 × 8 RAM; (3)Four 8-bit ports, 32 I/O lines; (4)Three 16-bit timer/event counters; (5)High-performance full-duplex serial channel with flexible transmit/receive baud rate capability; (6)External memory expandable up to 128 Kbytes; (7)Boolean processor; (8)Most instructions execute in 1μs/750ns/666ns; (9)Multiply and divide in 4 μs/3μs/2.7μs.
Diagrams

|  |  SAB 80C515 |  Other |  |  Data Sheet |  Negotiable |  | ||||
|  |  SAB 80C517 |  Other |  |  Data Sheet |  Negotiable |  | ||||
|  |  SAB 80C535 |  Other |  |  Data Sheet |  Negotiable |  | ||||
|  |  SAB 80C537 |  Other |  |  Data Sheet |  Negotiable |  | ||||
|  |  SAB 82525 H V2.2 |  |  IC CONTROLLER HSCX MQFP-44 |  Data Sheet |  Negotiable |  | ||||
|  |  SAB 82525 N V2.2 |  |  IC CONTROLLER HSCX PLCC-44 |  Data Sheet |  Negotiable |  | ||||
 (Hong Kong)
 (Hong Kong) 
                         
                        
 
                                    




