Product Summary
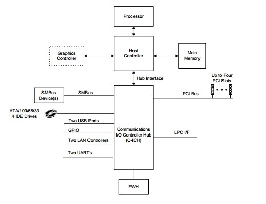
The FW82801FB is a highly integrated multifunctional communications I/O controller hub that provides the interface to the PCI bus and integrates many of the functions needed in today’s communications applications. This document provides a detailed description of the FW82801FB C-ICH thermal, electrical and mechanical specifications, including signals, pinout,packaging, electrical characteristics, and testability.
Parametrics
FW82801FB absolute maximum ratings: (1)Case Temperature under Bias :0°C to +109°C; (2)Storage Temperature: -55°C to +150°C; (3)Voltage on Any 3.3 V Pin with Respect to Ground:-0.5 to Vcc + 0.3 V; (4)Voltage on Any 5 V Tolerant Pin with Respect to Ground (VREF=5 V):-0.5 to VREF + 0.3 V; (5)1.8 V Supply Voltage with Respect to Vss :-0.5 to +2.7V; (6)3.3 V Supply Voltage with Respect to Vss :-0.5 to +4.6 V; (7)5.0 V Supply Voltage (Vref) with Respect to Vss :-0.5 to +5.5 V; (8)Maximum Power Dissipation: 2.0 W.
Features
FW82801FB features: (1)Supports Intel processors; (2)8-Bit Hub Interface:266 Mbyte/s maximum throughput; (3)Two integrated LAN controllers; (4)USB:Includes one UHCI Host Controller with a total of two ports;USB 1.1 compliant; (5)PCI Bus interface:Supports PCI Rev 2.2 specification at 33 MHz;133 Mbyte/s maximum throughput; (6)Low-Pincount (LPC) interface; (7)Firmware Hub (FWH) interface:Supports 8-Mbyte memory size; (8)Integrated IDE controller supports Ultra100 DMA, Ultra66 and Ultra33 DMA mode transfers; (9)Interrupt Controller:Two cascaded 82C59 interrupt controllers;Integrated I/O (x) APIC supporting 24 interrupts;15 interrupts supported in 8259 mode; (10)Two cascaded 8237 DMA controllers; (11)Integrated 82C54-compatible timers; (12)Real-time clock with 256-byte batterybacked CMOS RAM; (13)System Management Bus (SMBus):Compatible with most two-wire components that are also I2C compatible;Slave interface allows external microcontroller to access system resources; (14)GPIO:Exact number varies by configuration. Maximum: 12 inputs, eight outputs, four I/O; (15)Integrated 16550 compatible UARTs:Two UARTs;Serial Interrupts; (16)Supports IRQ1/IRQ12 emulation to avoid external keyboard controller; (17)1.8 V operation with 3.3 V I/O. 5 V tolerance on many buffers, including PCI and IDE; (18)Package: 421 BGA.
Diagrams

| Image | Part No | Mfg | Description | ![]() |
Pricing (USD) |
Quantity | ||||||||||||
|---|---|---|---|---|---|---|---|---|---|---|---|---|---|---|---|---|---|---|
![]() |
![]() FW82801FB |
![]() Other |
![]() |
![]() Data Sheet |
![]() Negotiable |
|
||||||||||||
| Image | Part No | Mfg | Description | ![]() |
Pricing (USD) |
Quantity | ||||||||||||
![]() FW82439HXSU115 |
![]() |
![]() IC 82439HX SYS CTRL MHXC 324BGA |
![]() Data Sheet |
![]()
|
|
|||||||||||||
![]() |
![]() FW82439TX |
![]() Other |
![]() |
![]() Data Sheet |
![]() Negotiable |
|
||||||||||||
![]() |
![]() FW82439TXSL28T |
![]() |
![]() IC 82439TX SYS CTRL MTXC 324BGA |
![]() Data Sheet |
![]() Negotiable |
|
||||||||||||
![]() |
![]() FW82443BXSL2VH |
![]() |
![]() IC 82443BX SYS CTRLR 492-PBGA |
![]() Data Sheet |
![]() Negotiable |
|
||||||||||||
![]() |
![]() FW82546GB |
![]() Intel |
![]() IC CTRLR ETHRNT 2-PORT 364BGA |
![]() Data Sheet |
![]()
|
|
||||||||||||
![]() |
![]() FW82801AA SL3Z2 |
![]() Other |
![]() |
![]() Data Sheet |
![]() Negotiable |
|
||||||||||||
(Hong Kong)









